®
DEQUAN IP AGENCY
专业   创造价值
 知识    改变命运
北京华沛德权律师事务所
DE  QUAN
北京众达德权知识产权有限公司
政策资讯
政策资讯

国际新闻


  • 苹果为乔布斯剧院外观设计申请专利


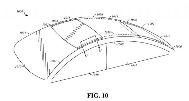
新浪科技讯 北京时间 8 月 29 日上午消息,苹果今日获得 "Steve Jobs Theater"(史蒂夫 · 乔布斯剧院)的外观设计专利。


该专利主要涉及地面上的玻璃建筑外观,并未涉及剧院内使用的任何技术。这一设计看似简单实则不然:一个没有支撑柱的环形玻璃,以炭纤维材质为屋顶。

去年 2 月份,苹果将这座可容纳 1000 人的剧院命名为 "Steve Jobs Theater"。


" 为纪念史蒂夫 · 乔布斯,以及他对苹果和全世界经久不衰的贡献,该位于 Apple Park 内的新剧院将命名为‘ Steve Jobs Theater ’,将于今年末开放。剧院内有可容纳 1000 人的观众席,入口是一个高 20 英尺的玻璃圆柱体,直径 165 英尺,同时也作为金属炭纤维屋顶的支撑柱。Steve Jobs Theater 位于山顶—— Apple Park 内的最高点——俯瞰整个园区和主楼。"


据报道,Apple Park 园区总造价达 50 亿美元,该剧院造价至少为 1.8 亿美元。

在该剧院举办的首场活动为去年 9 月份的 iPhone X 和 iPhone 8/Plus 发布会。

专利中的入口位于展览区上方,而剧院主体则位于地下。从专利图解来看,该设计看上去更像苹果在中国昆明的零售店。


  • 苹果汽车天窗新专利 - 带非线性轨道的可移动顶盖 或将自行设计天窗


据外媒报道,虽然苹果公司的自动驾驶车队是其 " 泰坦项目 " 研究的重中之重,但该公司仍在研究该类汽车的其他方面,包括提高车内乘客的安全性以及自行设计汽车天窗。



盖世汽车讯 据外媒报道,虽然苹果公司的自动驾驶车队是其 " 泰坦项目 " 研究的重中之重,但该公司仍在研究该类汽车的其他方面,包括提高车内乘客的安全性以及自行设计汽车天窗。


当地时间 8 月 28 日,苹果公司向有关机构提高专利申请,涵盖了一个经常被人忽视的驾驶体验领域。其专利名为 " 带非线性轨道的可移动顶盖 ",该专利描述了一个天窗系统,使用多条轨道沿着车辆顶部滑动顶盖。

根据该专利的描述,该系统基本由两条轨道和一个连接在两条轨道和面板之间的连接臂组成。值得注意的是,两条轨道的方向不同,两者之间的差距会影响连接臂的方向,但是三个部件仍可保持连接。在该专利的附图中,苹果提出该系统适用于车顶中部较窄,后部较宽的汽车。如此一来,可使用与车顶一样宽的顶盖,并沿着轨道向后滑动,使顶盖保持在汽车车顶中心线后部。

虽然该专利的附图描绘了一台具有光滑圆形车顶的汽车,但可能仅是为了说明该系统在理想情况下将如何工作。虽然苹果在展示该专利概念时确实采用了自己产品的插图,但是不应把此视为信号,认为苹果正在设计一款有此风格车顶的汽车,或是一款采用此特定天窗轨道系统的汽车。


  • 苹果汽车座椅新专利 - 发出振动信号或改变座椅形状护乘客周全


据外媒报道,当地时间 8 月 28 日,iPhone 制造商 - 苹果公司提交了一份名为 " 动态座椅触觉反馈 " 的专利申请文件,该专利描述了一款未来座椅,可以各种方式与乘客互动。



盖世汽车讯 据外媒报道,当地时间 8 月 28 日,iPhone   制造商 - 苹果公司提交了一份名为 " 动态座椅触觉反馈 " 的专利申请文件,该专利描述了一款未来座椅,可以各种方式与乘客互动。


未来座椅可通过振动信号提醒用户或是可自己折叠,让乘客处于更安全的位置,可能用于提高自动驾驶汽车的安全性,苹果公司一直在 " 泰坦项目 " 中测试配备了传感器和摄像头的自动驾驶雷克萨斯(Lexus)SUV。


自动驾驶雷克萨斯 SUV 的座椅配备了传感器,可触发 " 触觉反馈系统 ",振动以提醒驾驶员注意安全。当汽车转向某个特定方向时,现有系统可能会发出哔哔声,但是该专利提出,如果汽车在行驶过程中偏离车道线,座椅就会振动。


该专利指出,该方法会接收与汽车外部环境条件相关的外部信息,确定基于外部信息应用反馈,基于外部信息与预定状态的偏差程度计算出反馈水平,再根据反馈水平启动座椅组件。


该触觉反馈系统将使用单个或多个中央处理单元操作。简而言之,车载计算机将分析外部条件,并在感知到乘客可能遇到生命危险的情况下(如汽车在移动过程中,行驶轨迹发生重大变化),提醒乘客。

该专利的另一部分是,建议打造可以折叠成不同形状的座椅,以避免乘客受伤。例如,座椅倾斜角度可更大,以使乘客处于更安全的位置,还可以增加驾驶员安全带张力或是抬高座椅高度。


苹果公司在该专利中指出,其主要适用于汽车在自动驾驶模式下在使用的情况。该专利解释表明," 控制单元 " 将指示座椅从后仰位置移动到前倾位置,从而为驾驶员提供 " 更直立的姿势 "。位置变化可为驾驶员提供最佳环境视角,并发出信号通知驾驶员需要手动控制车辆。例如,如果任何车辆传感器探测到不佳的驾驶条件或是激进的驾驶行为,则可以调节座椅后仰的倾斜角度,以调节座椅安全带的张力。


  • Square 新专利允许商家接受任何货币支付,包括加密货币


PingWest 品玩 8 月 29 日讯,据 CCN 报道,数字支付公司 Square 获得了一项支付网络专利,该网络允许商家接受任何货币的支付,包括比特币或其他加密货币。Square 公司于 2017 年 9 月首次申请该专利。该专利还详细描述了一个允许 POS 系统在加密货币交易中消除延迟的过程,确保即使是比特币交易也能达到与信用卡交易大致相同的速度。 

国内要闻


  • 小米购入飞利浦约350项全球专利


据外媒IAM透露,美国专利商标局(USPTO)的转让记录表明,小米在其6月首次公开募股的准备阶段,从飞利浦手中购买了多个美国专利。这也是小米2018年达成的第一笔公开专利交易。


报道称,这次专利转让在3月便已执行,共包含了约350项全球专利。在专利转让文件中,除了列出了130多个美国专利号,还列出了日本、韩国、台湾、印度以及包括俄罗斯和土耳其在内的多个欧洲司法管辖区专利。值得注意的是,此次交易中似乎未包含任何大陆地区的专利。


专利咨询 商标咨询 软件著作权及版权 专利无效及诉讼 知识产权侵权维权 贯标及知产顾问 业务咨询